據韓媒報道,市場研究公司Display Supply Chain Consultants (DSCC)預測,今年韓國面板產能份額(按出貨面積計算)預計將跌至10%以下。2020年,它的市場份額為19%,但到2021年迅速下降至14%,去年為12%,今年將比去年下降3個百分點至9%。據解讀,這是因三星顯示器、LG顯示器關閉液晶面板業務或減少出貨量所導致的。此外,DSCC預測,中國大陸面板產能份額將從2020年的53%上升到今年的67%,去年為65%。2025年,中國大陸面板產能份額預計將升至70%。與此同時,韓國將下降至8%。

近期,OLEDON 首席執行官 Hwang Chang-hoon 宣布,公司正在挑戰實現像素密度為 10000 PPI(每英寸像素數)的 MicroOLED。
Micro-OLED是一種在硅基板上沉積有機發光二極管 (OLED) 的技術。 Micro OLED可用于擴展現實 (XR) 設備。業界認為, Micro OLED像素密度必須超過 3000 PPI 才能用于 XR 設備。

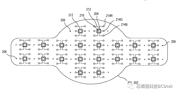
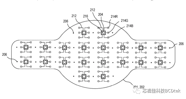
近期美國專利商標局公布了一項蘋果 Micro LED 新專利,這項專利發明最早可追溯到 2013 年;文件描述為「與微芯片相關 LED 陣列」,似乎是蘋果收購 Micro LED 廠商 LuxVue 時所獲得。蘋果至今已對這項專利發明進行七次更新,專利代號為 #11676953。
專利文件的摘要顯示,蘋果描述了一種「顯示模塊與包括顯示模塊的系統應用,顯示模塊可包含顯示基板,顯示基板又包括了前表面、后表面,以及前表面上的顯示區域。多個互連的顯示基板從前表面延伸到后表面,發光二極管(Light Emitting Diode,LED)陣列位于顯示區域當中,并與多個互連電線連接。蘋果在文件中所提供的示意圖顯示,專利可應用的設備包括穿戴、卷軸,以及摺疊顯示器。


在Vision Pro發布至今,可以看到諸多體驗過Vision Pro的博主都對這款產品的交互設計表示甚為驚喜。畢竟Vision Pro擺脫了「手柄」外部操控器,用戶僅通過眼睛、手、語音便可與設備進行交互,并且眼動、手勢與語音之間是打通的,是一整套的交互方式。毫無疑問,蘋果在重新定義MR交互方式的標準,而從每個技術上來看,Vision Pro又是蘋果多年來布局的一個體現。

6月28日消息,AR眼鏡技術初創公司CellidInc.宣布完成了由Tokyo Electron Limited子公司TEL Venture Capital,Inc參投的3.7億日元(約合人民幣1857萬元)融資,融資完成后Cellid融資總額達到15.8億日元(約合人民幣7931萬元)。本次融資始于2023年5月,2021年11月,Cellid完成了由AXA Life Insurance Co.,Ltd.、EPCO Co.,Ltd.等三家公司投資的5億日元融資。

6月29日消息,6月28日,聯想在 2023MWC 上海正式發布輕量化 AR 眼鏡聯想晨星 G2 light。這款 AR 眼鏡擁有雙目 1080P 立體顯示光機,亮度最高 2000nit,并具備輕量化、低成本優勢。
根據產品介紹,G2 light 內置有 9 軸傳感器融合算法,擁有 50% 透過率的光機,可以確保用戶能看清環境的同時也能看清顯示畫面。為了保證畫面穩定性和舒適佩戴體驗,G2 light 采用設備端 IMU 數據,可結合云端 AI 防抖算法,實現低功耗、低延時、大角度旋轉的第一視角視頻防抖。

近日,市場研究公司 Stone Partners 稱,三星顯示預計今年第二季度將出貨 2940 萬塊用于移動設備的剛性 OLED 面板,預計將占據80.4%的市場份額。今年第一季度,三星顯示的剛性OLED出貨量為2280萬片。與上一季度相比,市場份額也有所增加。三星顯示一季度剛性OLED市場份額為72.8%。中國的和輝光電(EDO)排名行業第二,維信諾排名第三。

芒果XR虛擬棚正式投入使用,將改變傳統的制作模式與拍攝手法,引領內容制作進入數字化拍攝新時代!該影棚坐落在湖南廣電集團(臺)B3區270平米演播廳,由集團(臺)科技委統籌規劃、技術調度中心打造,采用洲明UpadIV2.6、UDF03系列LED顯示屏分別作為“立面屏、地磚屏”,
近幾年,虛擬拍攝在國外發展迅速,應用豐富。芒果XR虛擬棚,為內容生產提供了一個探索創新的平臺與制作基地,相信這一XR虛擬棚也將孵化更多創意、打造更多爆款,為觀眾帶來更多震撼和沉浸的視覺體驗。
